Котел «Хопер 100» с САБК
Котел «Хопер 100» с автоматикой САБК работает на энергии давления газа. Такое отопительное оборудование используется для отопления жилых и производственных помещений площадью до 1000 м2. Автоматика российского производства САБК-М в котлах «Хопер 100» является современной системой безопасности, отличающейся простотой и надежностью работы.
Напольный котел «Хопер 100» с автоматикой САБК-М работает как на природном газе, так и на сжиженном. В качестве теплоносителя используется вода.
Газовый котел «Хопер 100» с САБК является одной из самых популярных моделей линейки и обладает следующими особенностями:
- Высокий коэффициент полезного действия.
- Теплообменник из трехмиллиметровой стали.
- Низкий уровень шума при работе.
- Удобное расположение органов управления под передней панелью.
Купить котел «Хопер 100» с САБК очень просто. Для этого вам следует всего лишь позвонить по телефонам, указанным на сайте. Менеджеры котельного оборудования «Ирбис» незамедлительно ответят на все возникшие вопросы и оформят заявку на приобретение.
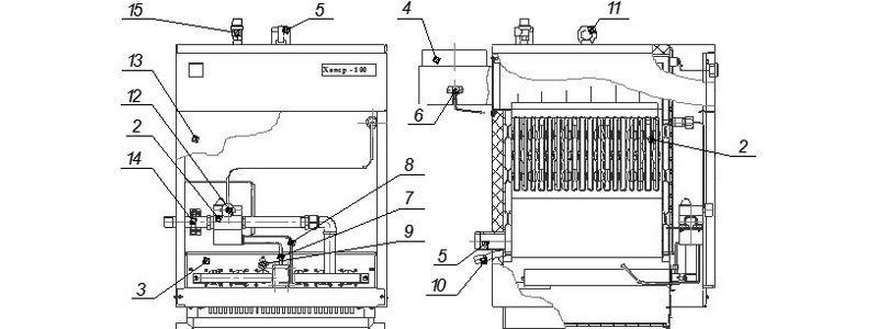
Устройство котла «Хопер 100» с САБК

|
1. Стальной теплообменник 2. Система автоматики безопасности 3. Горелка 4. Патрубок для присоединения к дымоходу 5. Патрубок отопления 6. Датчик тяги 7. Импульсные трубки 8. Трубка запальника |
9. Глазок для розжига 10. Сливная пробка 11. Рым-болт 12. Регулятор температуры 13. Дверка 14. Патрубок присоединения к газопроводу 15. Предохранительный клапан . |
Функциональные возможности автоматики САБК
Комплект САБК является энергонезависимой автоматикой, то есть подключение к электрической сети не требуется. Вместо электрической энергии используется энергия давления газа. Автоматика САБК-М обеспечивает безопасную работу котла «Хопер 100», осуществляет регулирование температуры воды на выходе, а также прекращает подачу газа при погасании пламени запальника и отсутствии тяги.
| Главные атрибуты | |
| Мощность | 96.7 кВт |
| Отапливаемая площадь: | 1000 м<sup>2</sup> |
| Кпд | не менее 92 % |
| Срок службы | не менее 15 лет |
| Гарантия | 2 года |
| Производство | Россия |
| Общие атррибуты | |
| Высота | 980 мм |
| Ширина | 720 мм |
| Длина | 1014 мм |
| Масса | 330 кг |
| Котельное оборудование | |
| Номинальная теплопроизводительность | 96.7 кВт |
| Вид топлива | Природный газ по ГОСТ 5542, сжиженный газ по ГОСТ 20448 |
| Диапазон давления природного газа | 900 (91.8) ... 1800 (183) Па (мм вод.ст.) |
| Диапазон давления сжиженного газа | 2500 ... 3528 Па |
| Номинальное давление природного газа | 1274 (130) Па (мм вод.ст.) |
| Номинальное давление сжиженного газа | 3000 Па |
| Номинальный расход природного газа | 11.2 м<sup>3</sup>/ч |
| Номинальный расход сжиженного газа | 8.1 кг/ч |
| Максимальная температура воды на выходе из котла | 95 С° |
| Рабочее давление воды | 0.3 МПа (кг/см<sup>2</sup>) |
| Объём воды в котле | 69 л |
| Расход воды через котел | не менее 3.2 м<sup>3</sup>/ч |
| Диаметр резьбы водяных патрубков | G 2" |
| Диаметр резьбы патрубка газопровода | G 1" |
| Сечение дымовой трубы | O 220 мм |
| Автоматика | энергонезависимая САБК |
Сертификат ТР ТС
Сертификат ТР ТС
Сертификат ТР ТС